Whirlpool is an American Multinational manufacturer company headquartered in Benton Charter Township, Michigan, United States. It designs and manufactures home appliances. Since its establishment, it has been ranked as the number one marketer of home appliances around the world. The company has a portfolio of products that use customer insights to meet the different lifestyle needs of consumers. Moreover, their brands have targeted more than 90% of customers across the globe.

Whirlpool offers you Whirlpool Appliance Parts. To get your appliance working again, you should only use OEM parts. As they always focus on customer needs, supplying Whirlpool refrigerator parts, Whirlpool dishwasher parts, and more. Moreover, if you need any Whirlpool stove replacement parts, they are also available at our PartsIPS store. Therefore, look at our Whirlpool Appliance Parts and Supplies and improve your unit's efficiency. Additionally, we provide other top-brand parts at an affordable price.

Whirlpool Appliances Parts Whirlpool Refrigerator Parts Whirlpool Dishwasher Parts Whirlpool Washing Machine Parts

whirlpool appliance parts

 

Whirlpool is an American Multinational manufacturer company and headquartered in Benton Charter Township, Michigan, United States. It designs and manufactures home appliances. Since its establishment, it has been surveying as the number one marketer in producing home appliances around the world. The company has nine manufacturing facilities include Amana, Iowa; Cleveland, Tennessee; Tulsa, Oklahoma; Findlay, Ohio; Clyde, Ohio; Marion, Ottawa, Greenville, Ohio; and Fall River, Massachusetts.

In 1966, the company purchased the major television producer, i.e., Warwick Electronics. Whirlpool acquired KitchenAid, a division of the Hobart Corporation in 1986. Next, in 1981, it was started a compact washers business in India. In India, its manufacturing facilities started in Pondicherry. Later, it purchased Kelvinator India Limited and entered into the refrigerator market. After that, the company owned many companies to expand their product lines.

Whirlpool brands represent customers in all regions of the world. The company has a portfolio of all products using customer insights to meet the different lifestyle needs of a consumer. Moreover, their brands have targeted more than 90% of customers across the globe. It maintains respect, integrity, diversity, inclusion, teamwork, and the spirit of winning to get success. However, you can reduce the water and energy bills by using Whirlpool Appliances.

To maintain your equipment securely, we offer you the Whirlpool Appliance Parts. You should use OEM parts only to get back your appliance efficiently work. As we always focus on customer needs, supplying Whirlpool refrigerator parts, Whirlpool dishwasher parts, and more. Moreover, if you need any Whirlpool stove replacement parts, they are also available at our PartsIPS store. Therefore, look at our Whirlpool Appliance Parts and Supplies and improve your unit efficiency. Additionally, we provide other top brand parts also at an affordable price.

View as Grid List

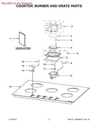
Whirlpool CAP-BURNER - Part# W10364463

CAP-BURNER - Part# W10364463
$23.74

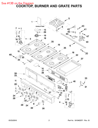
Whirlpool CAP-BURNER - Part# W10398574

CAP-BURNER - Part# W10398574
$48.41

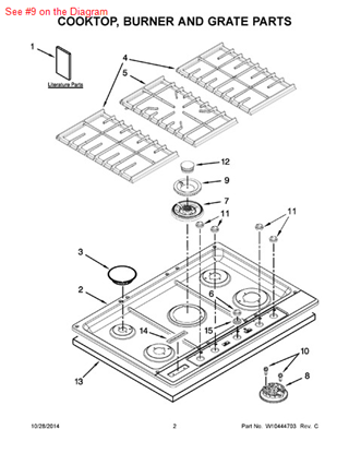
Whirlpool CAP-BURNER - Part# W10691282

CAP-BURNER - Part# W10691282
$51.61

Whirlpool CAP-BURNER - Part# W10811958

CAP-BURNER - Part# W10811958
$82.82

Whirlpool CAP-BURNER - Part# W10814915

CAP-BURNER - Part# W10814915
$48.40

Whirlpool CAP-BURNER - Part# W10819916

CAP-BURNER - Part# W10819916
$61.18

Whirlpool CAP-BURNER - Part# W10831828

CAP-BURNER - Part# W10831828
$101.19

Whirlpool CAP-BURNER - Part# W10832694

CAP-BURNER - Part# W10832694
$53.51

Whirlpool CAP-BURNER - Part# W10833886

Whirlpool CAP-BURNER - Part# W10833886
$60.98

Whirlpool Cap-Burner - Part# W10836474

Whirlpool Cap-Burner - Part# W10836474
$160.98

Whirlpool CAP-BURNER - Part# W10876582

CAP-BURNER - Part# W10876582
$151.13

Whirlpool CAP-BURNER - Part# W10881749

CAP-BURNER - Part# W10881749
$61.46

Whirlpool Cap-Burner - Part# W11107914

Whirlpool Cap-Burner - Part# W11107914
$57.30

Whirlpool Cap-Burner - Part# W11161846

Whirlpool Cap-Burner - Part# W11161846
$64.81

Whirlpool CAP-BURNER - Part# W11319224

Whirlpool CAP-BURNER - Part# W11319224
$108.17

Whirlpool Cap-Burner - Part# W11379294

Whirlpool Cap-Burner - Part# W11379294
$84.75

Whirlpool Cap-Burner - Part# W11455147

Whirlpool Cap-Burner - Part# W11455147
$44.19

Whirlpool Cap-Burner - Part# W11579391

Whirlpool Cap-Burner - Part# W11579391
$74.82

Whirlpool Cap-Burner - Part# W11590055

Whirlpool Cap-Burner - Part# W11590055
$16.96

Whirlpool Cap-Burner - Part# W11590057

Whirlpool Cap-Burner - Part# W11590057
$16.96
Picture of Phone Support

Phone Support

Call (315) 234-4347 for your queries. 

Picture of 30 Days Return

30 Days Return

We have 30 days returns policy.

Picture of Fast Shipping

Fast Shipping

We have fast shipping across all 50 states.

Picture of Request a Quote

Request a Quote

Send email to contact@partsips.com to request a quote.